工采电子代理的MC1081系列是一款高集成度、多通道、宽频的数字电容传感芯片。芯片直接与测量电极板相连,通过振荡频率的变化,感知电容的变化。激励频率在0.1~30MHz范围内可配置,测量频率测量输出为16bit数字信号,对应的电容较高分辨率1fF。芯片支持多种工作模式,可以测量包括单端电容、双端浮空电容和互电容多种模式。芯片内部集成了16bit高精度的数字温度传感器,可用于需要温度补偿及其它温度复合传感的场景。芯片采用全数字化设计,通过I2C接口配置各种功能和读取数据,支持较高1Mbps的通讯速率。
电容式传感通过电场激励下被测物质的微小电容变化,可实现对不同物质的介电检测,是一种非接触、高分辨率、高速度、低功耗、低成本的感知方法。和国内外同类产品相比,MC1081芯片较多可同时测量10路单端电容,或者5路双端电容。电容激励频率调节范围大、幅度可配置,电容测量的工作模式多样且配置灵活,工作电压范围宽,外围电路简单、适用性强。芯片可广泛用于非接触介电检测、液位测量、触摸控制、接近感知、水浸传感、干湿度检测、含水率分析等各种场景。
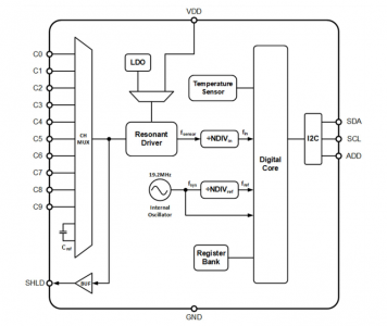
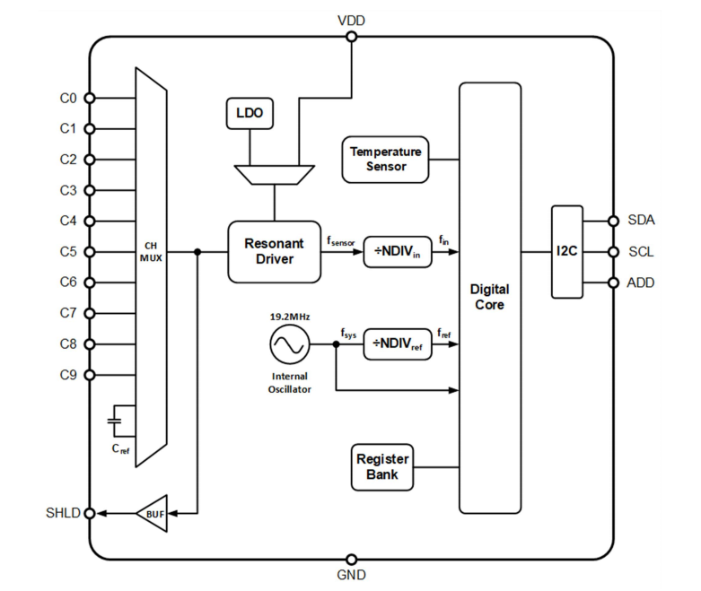
系统框图:
上图是MC1081的系统框图,包括振荡驱动电路(Resonant Driver)、多通道选择器(Channel Mux)、分频计数电路(Frequency Divider)、参考内部时钟(Internal Oscillator)、数字制逻辑(Digital Core)、寄存器堆(Register Bank)、温度传感(Temperature Sensor)、I2C接口、LDO及电源管理等功能模块。MC1081的驱动电路和外部电容Csensor构成电容传感器,对应产生不同的振荡信号fsensor经过分频送至数字逻辑电路,测量并数字化信号频率fin。数字逻辑使用参考频率fref来测量传感器的信号频率fin,该参考频率fref,通过芯片内部的高精度19.2MHz时钟经过分频器得到。通道C0~9,可以根据应用需求,连接多路单点或者双端电容电极,需要时可以通过SHLD进行有源屏蔽。I2C接口用于芯片的模式配置与传感数据的读取。
电容传感芯片 - MC1081的特性:
较多支持10路单端电容/5路双端电容测量
电容测量范围:1pF~10nF
测量激励:100KHz~30MHz,幅度可配置
电容/频率分辨率:16bit
支持有源屏蔽,相邻互电容测量
供电电压范围:2.3V~5.5V,内置LDO
单通道转换时间:0.1ms~23.5ms可配置
内置16bit高精度数字测温
典型单通道平均电流:2.5μA@1Hz
睡眠电流:50nA
通信接口:I2C
工作温度:-55℃~+125℃
QFN16/TSSOP16/DFN8 封装可选
电容传感器 - MC1081的应用:
液位测量
含水率测量
水浸传感
干湿度分析
介电检测
接近感知
按键触控
手势识别
在数字电容传感芯片领域,浙江MYSENTECH便是国产品牌中的佼佼者。了解更多关于浙江MYSENTECH数字电容传感芯片的技术应用,请登录工采网官网进行咨询。
转载请注明出处:传感器应用_仪表仪器应用_电子元器件产品 – 工采资讯 http://news.isweek.cn/42833.html






