数字电容处理器芯片通过电容变化感知目标物体状态,核心原理包括电容传感、模数转换和信号处理。芯片内置感测电极,当物体靠近时,电极间电容值因介电常数变化而改变。
工采电子代理的MCP1081S (Mysentech Capacitive Processor)是新一代电容传感微处理器SOC芯片,集成了十通道、多模式、宽频电容模拟前端传感电路、微处理器、存储及丰富的I/O接口。电容测量频率在0.1~30MHz范围内可配置,输出为16bit数字信号,较高分辨率为1fF。
芯片支持多种工作模式,可以测量包括单端电容、双端浮空电容和互电容多种模式。芯片内部集成了16bit高精度的数字温度传感器,可用于需要温度补偿及其它温度复合传感的场景。
为了解决各行业电容感知的嵌入式处理,SOC芯片集成了Arm® Cortex®-M0内核的微处理器,可实现各种感知算法的边缘计算,将原始测量的振荡频率数值,转换成电容值及液位、含水率、位移、接近距离、等具体物理量。芯片内置了16KB Flash存储器及2KB SRAM,可让开发者编写应用软件,并存储传感校准及应用数据。芯片同时集成了ADC、高级定时器、通用定时器、16位基本定时器等硬件资源以及USART和I2C等接口。
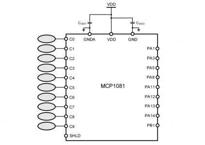
MCP1081的单端模式典型应用电路如下:
其中管脚C0至C9连接单端电极,选取内部20pF作为参比电容。图中管脚分配仅为一种示例。在实际应用中,可以根据需要,分配管脚连接单端电极、互电容电极或者外接电容。图中VDD滤波电容CVDD1和CVDD2的取值范围为100nF至10uF,两个GND管脚都需要接地。
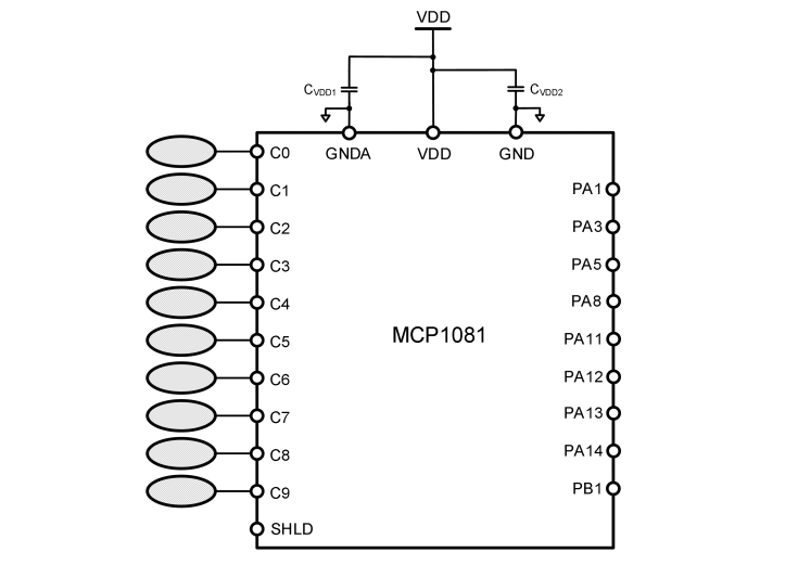
MCP1081的双端模式典型应用电路如下:
其中管脚C0和C1、C2和C3、C4和C5、C6和C7、C8和C9接双端电极,选取内部20pF作为参比电容。在实际应用中,可以根据需要,分配管脚连接双端电极或者外接电容。图中VDD滤波电容CVDD1和CVDD2的取值范围为100nF至10uF, 两个GND管脚都需要接地。
电容传感芯片 - MCP1081S的特性:
电容检测前端
–10路单端电容/5路双端电容测量
–电容测量范围:1pF~10nF
–电容检测频率:100KHz~30MHz
–电容/频率分辨率:16bit
–支持有源屏蔽,相邻互电容测量
内核与系统
–32-bit Arm®Cortex®-M0
–工作频率可达48MHz
存储器
–16KB Flash存储器
–2KB SRAM
时钟、复位和电源管理
–2.3V~5.5V供电
–上电/断电复位(POR/PDR)、可编程电压
监测器(PVD)
–内嵌48MHz HSI高速振荡器
–内嵌40KHz LSI低速振荡器
–支持较高48MHz外部时钟输入(HSE,通过OSCIN引脚)
低功耗
–支持低功耗模式,包括:睡眠(Sleep)和深度睡眠(Deep Sleep)
–平均功耗:12uA@1Hz
5个定时器
–1 个16位4通道高级控制定时器(TIM1)
–1 个16位4通道通用定时器(TIM3)
–1 个16位基本定时器(TIM14)
–1 个独立时钟的硬件看门狗定时器(IWDG)
–1 个Systick定时器:24位自减型计数器
9个快速I/O端口
–所有I/O口可以映像到外部中断
–所有端口均可输入输出电压不高于VDD的信号
3个通信接口
–1个USART接口
–1个I2C接口
1个12位模数转换器(ADC),支持较快1μs转换时间(1MSPS采样率),配置4个外部通道和1个可采集内置参考电压的内部通道
CRC计算单元
96位芯片唯一ID(UID)
调试模式–串行调试接口(SWD)接口
工作温度范围-40℃~+85℃
单通道转换时间:0.1ms~23.5ms可配置
内置16bit高精度数字测温
在数字电容传感芯片领域,浙江MYSENTECH便是国产品牌中的佼佼者。了解更多关于浙江MYSENTECH数字电容传感芯片的技术应用,请登录工采网官网进行咨询。
转载请注明出处:传感器应用_仪表仪器应用_电子元器件产品 – 工采资讯 http://news.isweek.cn/43308.html







